齐震卸任华宝大健康混合!华宝基金近一年第五位基金经理离任半岛体育- 半岛体育官方网站- APP下载
2026-03-06半岛体育,半岛体育官方网站,半岛体育APP下载3月3日,华宝基金发布公告,旗下华宝大健康混合基金增聘张金涛为基金经理,原基金经理齐震则因“个人原因”离任,并已在中国基金业协会办理注销手续。
值得一提的是,这并非张金涛与该基金的首次交集。公开履历显示,张金涛自2021年4月加入华宝基金,曾于2021年5月至2025年8月期间管理华宝大健康混合基金,后因业务调整卸任,由齐震独立管理。而此次齐震离任,则意味着其唯一在管的基金就此卸任,成为公司近期又一位“清仓式”离任的基金经理。
齐震于2023年2月28日开始担任华宝大健康混合的基金经理,任职时长约为三年,年化回报率达8.89%,表现优于张金涛在任期间5.7%的年化回报率。值得一提的是,张金涛在卸任华宝大健康混合基金后,仍管理华宝医药生物混合、华宝创新优选混合两只基金,截至目前,其任职时长均已超4年,两只产品收益率分别为-19.53%、-7.9%。
此次张金涛重新接手华宝大健康混合基金,也让该产品在不到一年时间内再度回到其管理之下,市场对其能否胜任也产生诸多质疑。
而在齐震之前,华宝基金上一次“清仓式卸任”的基金经理是指数投资总监胡洁。2026年春节前夕,胡洁因“个人原因”一次性卸任在管的全部16只产品。
作为华宝基金“ETF一姐”,胡洁在公司被动投资业务版图中占据着举足轻重的地位。截至2025年末,华宝基金公募总管理规模4165.28亿元,胡洁一人管理16只指数基金,总规模高达1013.62亿元,占公司公募总规模的近四分之一。若聚焦ETF业务,华宝基金非货币ETF总规模1419.64亿元,胡洁管理规模占比更是超过七成,堪称支撑起公司指数投资业务的“顶梁柱”。
具体到产品层面,胡洁掌舵的多只行业旗舰ETF,更是构成了华宝基金ETF规模的“基本盘”。截至卸任前,华宝中证全指证券公司ETF总规模为397.72亿元、华宝中证医疗ETF管理规模为252.63亿元、华宝中证银行ETF规模127.94亿元,这三只百亿级品种合计规模占其管理总规模的七成以上。作为拥有近20年证券从业经验、13年ETF管理经验的资深人士,胡洁长期负责华宝基金指数产品线布局、投研体系搭建与规模扩张,几乎以一己之力撑起了公司指数投资的半壁江山。
更值得关注的是,胡洁的离职并未留下太多缓冲期。根据中国证券投资基金业协会公示信息,她于2026年2月12日从华宝基金完成注销,仅时隔12天便完成从业机构变更,火速加盟天弘基金。
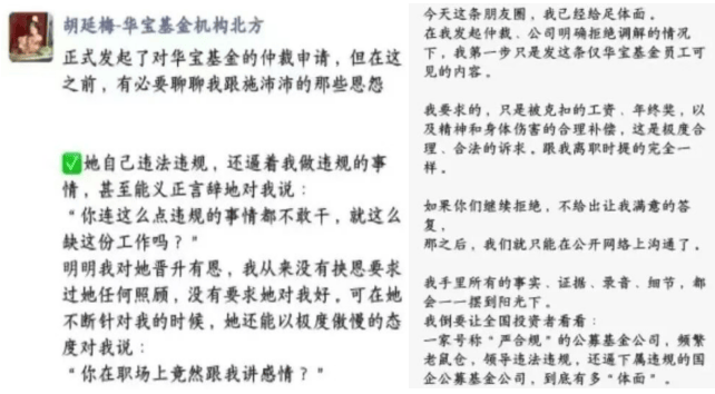
就在胡洁离任消息逐渐平息之际,一则朋友圈截图在基金行业内部悄然流传。2026年2月底,华宝基金前员工胡延梅在社交平台上发布长文,实名控诉其在华宝基金北京分公司工作期间,遭遇长期职场霸凌,并被要求进行违规操作。文中措辞激烈,提及“频繁老鼠仓、领导违法违规、逼下属违规”等,并称目前已正式发起对华宝基金仲裁申请。
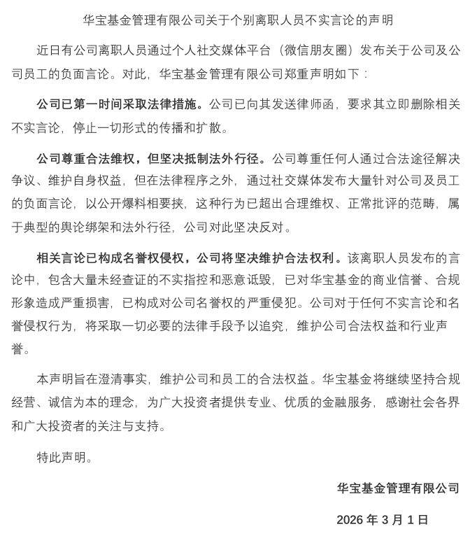
面对这封“控诉信”,华宝基金迅速反应。3月1日,正值周日,华宝基金发布官方声明,称个别离职人员发布大量未经查证的不实指控和恶意诋毁,严重损害公司商业信誉与合规形象,已构成名誉权侵犯;公司已第一时间采取法律措施,向其发送律师函,要求立即删除不实言论、停止传播。同时,华宝基金强调,尊重员工通过合法途径维权,但反对通过社交媒体进行舆论绑架、法外施压。
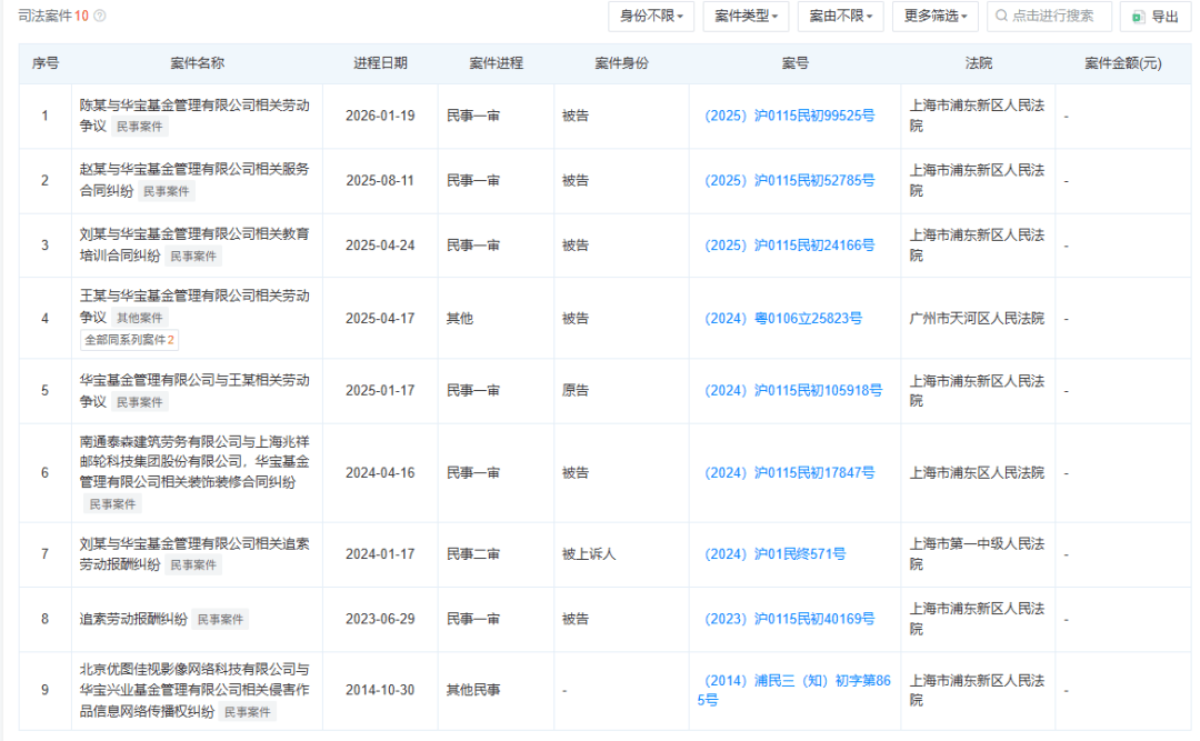
截至目前,双方各执一词,劳动仲裁与法律程序尚未出具最终结论。但该事件,已将华宝基金再度推向舆论的风口浪尖。
值得注意的是,这并非华宝基金近年首次出现劳动争议。此前,2026年1月19日,陈某也曾因劳动纠纷将华宝基金诉至法庭。短时间内频发的劳动纠纷,尤其是涉及职场霸凌与违规操作的指控,引发了市场对华宝基金内部治理结构和企业文化的担忧。
2025年下半年,华宝基金刚完成管理层换届。2025年9月,“宝武系”背景的夏雪松接替黄孔威履新董事长,此后,原中加基金夏英加盟出任常务副总经理,10月欧江洪被任命为副总经理,高管团队架构初步成型。然而,新官上任的三把火尚未点燃,便迎来了开年的“大考”。返回搜狐,查看更多


